Was ist das für ein Atemschutzgerät?

Antworten
Benutzeravatar
Schleitaucher
Nichtmitglied
Beiträge: 51
Registriert: Mo 19. Apr 2021, 18:55
Vorname: Christian
Spezielle Interessen: Berufstaucherei, ROVs

Was ist das für ein Atemschutzgerät?

Beitrag von Schleitaucher »

Moin Allerseits,
hat jemand schon mal dieses Gerät gesehen?
DSC_0353.JPG
DSC_0355.JPG
Möchte das jemand haben?
Gruß Krischan
Oben kann jeder.
Benutzeravatar
Kratermann
HTG-Mitglied
Beiträge: 72
Registriert: Fr 3. Sep 2021, 17:43
Vorname: Jens
Spezielle Interessen: Geschichte um Hans Hass, Technik und Geschichte der Firmen Poseidon und Barakuda

Re: Was ist das für ein Atemschutzgerät?

Beitrag von Kratermann »

Hallo Krischan,

also ich könnte mich täuschen, aber mir scheint, als wäre auf dem Gestell - auf dem hinteren, großen Bügel - ein altes Dräger-Logo erkennbar.

Vielleicht engt dass den Suchbereich schon mal etwas ein.

Viele Grüße,
Jens
Benutzeravatar
Franz
HTG-Mitglied
Beiträge: 1401
Registriert: Fr 24. Jun 2011, 14:29
Vorname: Franz
Spezielle Interessen: Alte Tauchausrüstungen, Tauchgeschichte. . . .

Re: Was ist das für ein Atemschutzgerät?

Beitrag von Franz »

Jungs,

der Regler hat wohl zwei Membranen.
Ich frage mal einige Dräger-Spezialisten nach der Typenbezeichnung.

Gruß,
Franz
Benutzeravatar
Franz
HTG-Mitglied
Beiträge: 1401
Registriert: Fr 24. Jun 2011, 14:29
Vorname: Franz
Spezielle Interessen: Alte Tauchausrüstungen, Tauchgeschichte. . . .

Re: Was ist das für ein Atemschutzgerät?

Beitrag von Franz »

Stefan Samojauska hat geantwortet. Das ist ein Dräger PA34 Atemschutzgerät. Siehe Drägerheft 255 ab Seite 2.
Das sollten wir digitalisiert im Archiv haben.
PA34.jpg
PA34.jpg (20.86 KiB) 23717 mal betrachtet
Benutzeravatar
Schleitaucher
Nichtmitglied
Beiträge: 51
Registriert: Mo 19. Apr 2021, 18:55
Vorname: Christian
Spezielle Interessen: Berufstaucherei, ROVs

Re: Was ist das für ein Atemschutzgerät?

Beitrag von Schleitaucher »

PA34... jottsverdammich! Und ich dachte, PA38 wäre schon alt. Das Tauchermuseum Flensburg wird sich freuen.

Gruß
Krischan
Oben kann jeder.
Benutzeravatar
Franz
HTG-Mitglied
Beiträge: 1401
Registriert: Fr 24. Jun 2011, 14:29
Vorname: Franz
Spezielle Interessen: Alte Tauchausrüstungen, Tauchgeschichte. . . .

Re: Was ist das für ein Atemschutzgerät?

Beitrag von Franz »

Krischan,

das PA34 ist kein Tauchgerät. Das Ausatemventil sitzt an der Maske und würde unter Wasser abblasen. Aus welcher Zeit das PA 34 stammt, weiss ich nicht, das steht sicher im genannten Drägerheft.

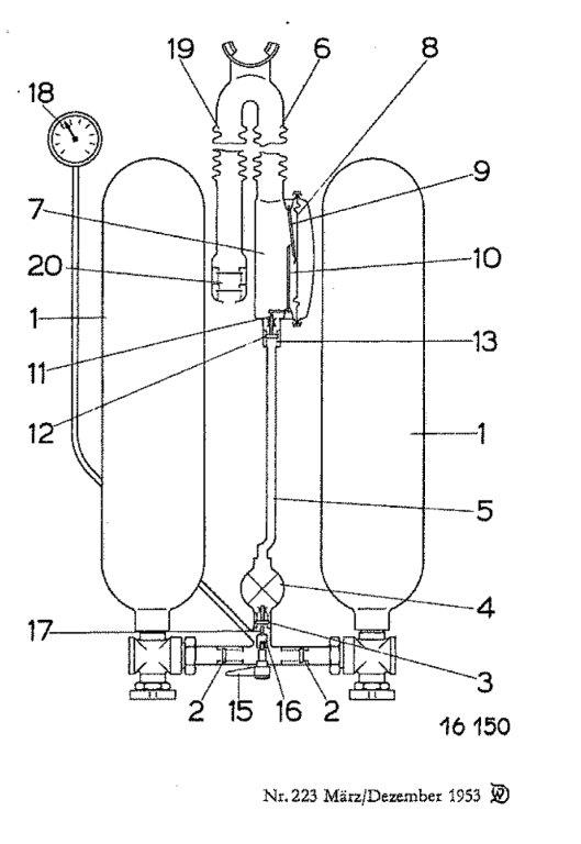
Anfang der 1950er Jahre hatte Dräger den Pressluftatmer „R16000“ als autonomes Tauchgerät im Programm. Das stammt wohl aus der gleichen Zeit. Dessen Atemregler „PA40“ ist jedoch kein Kompaktregler, sondern aus einer getrennten ersten und zweiten Stufe aufgebaut. Diese wurden zwischen den beiden Pressluftflaschen integriert und sind nicht abnehmbar. Das Ausatemventil sitzt neben dem Druckminderer.
Dräger-1953-R 16000.jpg
Dräger-1953-Pressluftatmer-5#.jpg
So ein Ding müsste man auftreiben. . .

Gruß,
Franz
Benutzeravatar
Lekies
2. Vorsitzender
Beiträge: 85
Registriert: So 26. Jun 2011, 19:59
Vorname: Volker

Re: Was ist das für ein Atemschutzgerät?

Beitrag von Lekies »

meine Güte...Wo hast du das denn abgegriffen....
War das auch in dem ganzen Berg Altmetall, den du übernommen hast?
Benutzeravatar
Franz
HTG-Mitglied
Beiträge: 1401
Registriert: Fr 24. Jun 2011, 14:29
Vorname: Franz
Spezielle Interessen: Alte Tauchausrüstungen, Tauchgeschichte. . . .

Re: Was ist das für ein Atemschutzgerät?

Beitrag von Franz »

Hai!

Philipp Jungschläger hat mir das entsprechende Drägerheft als pdf zugesandt. Der Pressluftatmer ist von 1964 und der Automat hat tatsächlich zwei gegenüberliegende Membranen.

Gruß,
Franz
Benutzeravatar
Schleitaucher
Nichtmitglied
Beiträge: 51
Registriert: Mo 19. Apr 2021, 18:55
Vorname: Christian
Spezielle Interessen: Berufstaucherei, ROVs

Re: Was ist das für ein Atemschutzgerät?

Beitrag von Schleitaucher »

So, ihr Lieben,
nachdem ich erfolgreich mal wieder ein Doppel-4 schrottreif getaucht habe, musste ich mir für die neue Saison was "neues" zusammenbauen, was nach zwei Saisons wieder in den Schrott geht.
Da ich mit dem D4 ganz zufrieden war, suchte ich nach einer passenden Trage und mir fiel wieder das alte PA34-teil in die Hände. Also habe ich mal 3 Tage investiert und mir überlegt, wie man das
auf Schleitauchertauglichen Einsatzzustand bringen kann.
DSC_0426.JPG
Als kniffligster Teil stellte sich die Befestigung der ersten Stufe dar. Ich hatte eine Brücke zur Verfügung, die die Flaschen tragen soll, von Hand von den Flaschen lösbar ist und leicht beweglich am Tragegestell verbaut ist. Die erste Stufe sollte weiterhin demontierbar bleiben. Also hab ich den originalen Druckminderer von Annodazumal nach und nach zersägt bis irgendwann die Idee kam, wie die Originalhalterung mit der neuen Brücke verbunden werden kann. Vom Druckminderer ist nichts mehr weiter als die Halterung übriggeblieben und diese ist mit selbstgefrästen Kunststoffhalterungen mit der Brücke verbunden, die wiederum Automat und Flaschen trägt. Die Verschraubungen der Flaschen habe ich mit den Handrädern von der originalen ersten Stufe ersetzt. Dort musste ich die Rohre absägen, um die Handräder abzukriegen. Bei der neuen Brück liessen sich die Brückenrohre zum Glück demontieren. Die Flaschen werden also oldschool-mäßig zum Füllen schnell abgeschraubt und rausgezogen wie beim PA38.
DSC_0427.JPG
Nachdem dies gelöst war, musste die Schlauchführung hergestellt werden. Mit einem Winkelstück geht die Hauptversorgung zwischen den Flaschen durch die Öffnungen, wo vorher der Doppelmembranregler saß. Der Abstand der Flaschen ist wie beim D7, so dass auch noch genug Platz ist, den Akkutank der Helmlampe ohne weitere Halterungen einzusetzen. Schlauch, Akkutank und Kabel laufen also komplett innerhalb des Gerätes, was ich ziemlich sexy finde.
DSC_0428.JPG
Die Gummierung der Rückenplatte hat sich im Laufe der Jahre zerbröselt. Die letzten Reste hab ich noch abgekratzt und sieht relativ frisch wieder aus. Finimeter und Inflator kommen links und rechts unten aus dem Gerät, nicht einen Zentimeter zu lang oder zu kurz. Das Fini passt perfekt zu der schönen Finimeter-Klappvorrichtung von Dräger. Find ich wieder ziemlich erotisch, muss ich sagen.
DSC_0429.JPG
Dann flugs noch zwei unvergammelte gebrauchte 4l-Flaschen bestellt, 22 Eur das Stück. Dafür lohnt sich nicht das Entrosten und Neulackieren der alten Flaschen. Hält eh nicht.
Die Schutzkappen hatte ich auch noch im Lager liegen, wahrscheinlich von einem Interspiro-Gerät. Falls da jemand noch eine einzelne Kappe rumfliegen hat, nehm ich gerne.
Am Ende habe ich nun wieder ein schönes, extrem kompaktes Kleintauchgerät für all den Kram, den ich im 10m-Bereich und unter den Schiffen so veranstalte. Wiegt inkl. Akkutank gerade mal 15 Kg.

Während der Arbeiten habe ich übrigens das Typenschild gefunden. Manchmal muss man einfach die Augen aufmachen... :oops:

Wünsche ein schönes Wochenende!

Gruß Krischan
Oben kann jeder.
Benutzeravatar
Franz
HTG-Mitglied
Beiträge: 1401
Registriert: Fr 24. Jun 2011, 14:29
Vorname: Franz
Spezielle Interessen: Alte Tauchausrüstungen, Tauchgeschichte. . . .

Re: Was ist das für ein Atemschutzgerät?

Beitrag von Franz »

Hallo Krischan,

das war ein größerer Umbau, der dir mit Kreativität gelungen ist. Du tauchst beruflich, sind solche Umbauten von der Versicherung zugelassen?

Mit dem D4 taucht es sich gut, aber mir reicht der Luftvorrat nicht aus. Wir sind immer 90 bis 100 Minuten unter Wasser.

Franz

Oben kann eben nicht jeder. . .
Benutzeravatar
Schleitaucher
Nichtmitglied
Beiträge: 51
Registriert: Mo 19. Apr 2021, 18:55
Vorname: Christian
Spezielle Interessen: Berufstaucherei, ROVs

Re: Was ist das für ein Atemschutzgerät?

Beitrag von Schleitaucher »

Moin Franz,
du meinst wahrscheinlich die Berufsgenossenschaft? Der ist es herzlich egal, wie ich mich als Einzelkämpfer umbringe. Erst wenn ich Personal beschäftige, muss ich nach GUV Tauchausrüstung stellen. Das überlasse ich den großen Unternehmen. Für aufwändigere Einsätze sind dann halt mehrere Einzelkämpfer in einem Team, also Subunternehmer.

80% meiner Einsätze sind direkt unterm Schiff und im Durchschnitt 30 min lang. Da mache ich also mehrere Einsätze mit den D4, bevor ich nachfüllen muss.
Wenn es absehbar länger bzw. tiefer geht, hab ich noch ein nicht ganz so historisches Dräger LTG2800 (D7) und wenn's den ganzen Tag dauert, dann hab ich Kollegen am Start und wir tauchen an Schlauch und Leine mit Kirby Morgan Helm. Da siehts dann aber schon fast GUV-konform aus, wenn man nicht so genau hinguckt.

Gruß Krischan
Oben kann jeder.
Benutzeravatar
oxydiver
HTG-Mitglied
Beiträge: 789
Registriert: So 16. Okt 2011, 19:53
Vorname: Michael
Spezielle Interessen: Eigenbau und Tauchen mit altem Gerät, insbesondere Kreislaufgeräten. Sammlung von DDR Tauchtechnik.
Wohnort: Sachsen Anhalt
Kontaktdaten:

Re: Was ist das für ein Atemschutzgerät?

Beitrag von oxydiver »

Hallo,

das Gleiche hatte ich mal auf die schnelle mit dem Medi Preßluftatmer 16005 gemacht, da hatte ich die original 1. Stufe einfach drin gelassen (Druck höher gestellt), geht auch.
atmer.png
atmer.png (653.63 KiB) 23077 mal betrachtet
Gruß Micha
Benutzeravatar
Franz
HTG-Mitglied
Beiträge: 1401
Registriert: Fr 24. Jun 2011, 14:29
Vorname: Franz
Spezielle Interessen: Alte Tauchausrüstungen, Tauchgeschichte. . . .

Re: Was ist das für ein Atemschutzgerät?

Beitrag von Franz »

Hallo Zusammen,

eigentlich müssten wir Sporttaucher ebenfalls mit hängenden Ventilen tauchen. Ich kenne kaum jemand, der ratz fatz hinten an seine Ventile greifen kann. Es geht am leichstesen beim unter Wasser Kopfstand.

Gruß,
Franz
Benutzeravatar
Schleitaucher
Nichtmitglied
Beiträge: 51
Registriert: Mo 19. Apr 2021, 18:55
Vorname: Christian
Spezielle Interessen: Berufstaucherei, ROVs

Re: Was ist das für ein Atemschutzgerät?

Beitrag von Schleitaucher »

oxydiver hat geschrieben:Hallo,

das Gleiche hatte ich mal auf die schnelle mit dem Medi Preßluftatmer 16005 gemacht, da hatte ich die original 1. Stufe einfach drin gelassen (Druck höher gestellt), geht auch.
Moin,
interessante Lösung mit dem Verteilerblock. Ich hatte tatsächlich noch ein y-verteiler am Lager, so dass ich den Inflator mit einbauen konnte beim PA38/2800.
Wie hast du den Mitteldruck hochgeschraubt? Ähnlich wie beim Cyklon?
DSC_0449.JPG
Oben kann jeder.
Benutzeravatar
oxydiver
HTG-Mitglied
Beiträge: 789
Registriert: So 16. Okt 2011, 19:53
Vorname: Michael
Spezielle Interessen: Eigenbau und Tauchen mit altem Gerät, insbesondere Kreislaufgeräten. Sammlung von DDR Tauchtechnik.
Wohnort: Sachsen Anhalt
Kontaktdaten:

Re: Was ist das für ein Atemschutzgerät?

Beitrag von oxydiver »

Hallo,

ja, Mitteldruck erhöhen wie bei fast jedem Regler, Federvorspannung auf die Membran erhöhen.

Gruß Micha
Antworten