Hallo Historiker,
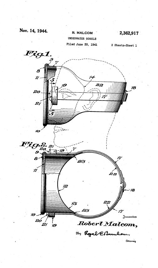
ich hab mir kürzlich Gedanken gemacht ab wann es eigentlich die ersten "richtigen" Taucherbrillen, also Einglasmasken, gab. Ich meine also nicht die Perlentaucherbrillen. Die frühesten Patente die ich gefunden habe stammen aus 1941. z.B.
Hans Hass hatte 1942 in der Ägäis schon eine Einglasmaske, ich denke mal nicht selbstgemacht sondern gekauft, in den USA? Wer hat Infos dazu, war es diese?
Die Franzosen um Cousteuau hatten zu dieser Zeit ja noch die Eigenbau Auoschlauchmasken.
Ich bin durch aktuelle Archiv-Infos auf dieses Thema aufmerksam geworden. Ein deutscher Kampfschwimmer hatte 1945 schon eine ovale Maske auf. Ich wusste nicht das es diese Masken damals schon gab. Nach meinen Informationen verwendeten die Kampfschwimmer damals in Deutschland gar keine Masken...oder?
Also Quiz eröffnet!
Gruß Micha
Erste Einglasmaske, ab wann?
- oxydiver
- HTG-Mitglied
- Beiträge: 789
- Registriert: So 16. Okt 2011, 19:53
- Vorname: Michael
- Spezielle Interessen: Eigenbau und Tauchen mit altem Gerät, insbesondere Kreislaufgeräten. Sammlung von DDR Tauchtechnik.
- Wohnort: Sachsen Anhalt
- Kontaktdaten:
Re: Erste Einglasmaske, ab wann?
Hallo,
ich mach mal selbst weiter, Michael Jung schrieb mir zu diesem Thema:
"das Kampfschwimmerfoto kenne ich schon länger, habe es aber nicht in meinem Buch verwendet, weil es nicht die tatsächlichen Gegebenheiten wiedergibt. Es wurden tatsächlich nie in einem KS-Einsatz Taucherbrillen verwendet, weil die spiegelnde Glasscheibe ein zu großes Risiko darstellte, entdeckt zu werden. Solche Taucherbrillen wurden höchstens bei Übungen oder beim Bergen von Geräten verwendet. Sie stammen von Pirelli. Hans Hass brachte seine 1942 verwendete Maske aus den USA mit - da hast Du sehr richtig kombiniert"
Und dann noch weiter:
"das erste Patent stammt aus 1938 von Forjot (anbei). Die erste serienmäßige Produktion lief Anfang der 1940er in Italien und den USA. UK ab Ende der 1940er Jahre. Deutschland erst Anfang der 1950er Jahre. Die Maske auf dem Kampfschwimmmer gehört dort nicht hin aber das wusste der Fotograf nicht. Möglicherweise ist der Kampfschwimmer" auf dem Foto sogar selbst ein Alliierter"
Nun weiß ich es also Maxime Forjot hats erfunden
das Patent hab ich im Archiv eingestellt.
Gruß Micha
ich mach mal selbst weiter, Michael Jung schrieb mir zu diesem Thema:
"das Kampfschwimmerfoto kenne ich schon länger, habe es aber nicht in meinem Buch verwendet, weil es nicht die tatsächlichen Gegebenheiten wiedergibt. Es wurden tatsächlich nie in einem KS-Einsatz Taucherbrillen verwendet, weil die spiegelnde Glasscheibe ein zu großes Risiko darstellte, entdeckt zu werden. Solche Taucherbrillen wurden höchstens bei Übungen oder beim Bergen von Geräten verwendet. Sie stammen von Pirelli. Hans Hass brachte seine 1942 verwendete Maske aus den USA mit - da hast Du sehr richtig kombiniert"
Und dann noch weiter:
"das erste Patent stammt aus 1938 von Forjot (anbei). Die erste serienmäßige Produktion lief Anfang der 1940er in Italien und den USA. UK ab Ende der 1940er Jahre. Deutschland erst Anfang der 1950er Jahre. Die Maske auf dem Kampfschwimmmer gehört dort nicht hin aber das wusste der Fotograf nicht. Möglicherweise ist der Kampfschwimmer" auf dem Foto sogar selbst ein Alliierter"
Nun weiß ich es also Maxime Forjot hats erfunden
Gruß Micha
- oxydiver
- HTG-Mitglied
- Beiträge: 789
- Registriert: So 16. Okt 2011, 19:53
- Vorname: Michael
- Spezielle Interessen: Eigenbau und Tauchen mit altem Gerät, insbesondere Kreislaufgeräten. Sammlung von DDR Tauchtechnik.
- Wohnort: Sachsen Anhalt
- Kontaktdaten:
Re: Erste Einglasmaske, ab wann?
Ich muss mir noch mal schnell selber antworten, inzwischen hab ich gesehen das es ja auch Einglasmasken schon früher gab, allerdings war die Nase da noch nicht drin.
Insofern ist der Titel des Beitrags nicht ganz korrekt.
Gruß Micha
Insofern ist der Titel des Beitrags nicht ganz korrekt.
Gruß Micha
- Hugo
- HTG-Mitglied
- Beiträge: 68
- Registriert: Mi 16. Mai 2012, 14:32
- Vorname: Heinz-Dieter
- Spezielle Interessen: Tauchgeschichte und Historie sowie
Tauchausbildung und UW Forschungsbereiche.
Bin ein ehemaliger SOGETRAM Taucher - Wohnort: Berlin
Re: Erste Einglasmaske, ab wann?
Hallo in die Runde.
Ich habe bei uns im kleinen Vereinsarchiv eine Maske von der Firma NEMROD / Spanien ausfindig gemacht, welche die Bezeichnung Colombo sowie LadoBoca
trägt, aber von der ich leider kein Prospekt habe oder ein Herstellungsjahr ausfindig machen konnte.
Der Zustand dieser Gummimaske ist noch gepflegt und akzeptabel.
Gruß Hugo
Ich habe bei uns im kleinen Vereinsarchiv eine Maske von der Firma NEMROD / Spanien ausfindig gemacht, welche die Bezeichnung Colombo sowie LadoBoca
trägt, aber von der ich leider kein Prospekt habe oder ein Herstellungsjahr ausfindig machen konnte.
Der Zustand dieser Gummimaske ist noch gepflegt und akzeptabel.
Gruß Hugo
- Franz
- HTG-Mitglied
- Beiträge: 1401
- Registriert: Fr 24. Jun 2011, 14:29
- Vorname: Franz
- Spezielle Interessen: Alte Tauchausrüstungen, Tauchgeschichte. . . .
Re: Erste Einglasmaske, ab wann?
Hallo Zusammen,
unser Freund, Richard Walsby hat auf ein Patent von 1918 aufmerksam gemacht, hier die Übersetzung seiner Email:
Lieber Franz,
ich habe diese Diskussion mit Interesse verfolgt.
Gibt es einen Grund, warum niemand den berühmten Ogushi Respirator erwähnt hat? Der wurde 1918 erfunden, das US-Patent wurde 1920 von Riichi Watanabe veröffentlicht:
Https://www.google.de/patents/US1331601
Der Erfinder erwähnt speziell die Maske zwischen die Augenbraue und die Oberlippe. Die Erfindung wurde ausführlich von Nyle Monday im US Journal of Diving History Nr. 86, Frühjahr 2016:
Du kannst hier Bilder von David Dekker's DiveScrap Index sehen:
Http://www.divescrap.com/DiveScrap_INDE ... gushi.html
Best wishes
Richard Walsby
Gruß,
Franz
unser Freund, Richard Walsby hat auf ein Patent von 1918 aufmerksam gemacht, hier die Übersetzung seiner Email:
Lieber Franz,
ich habe diese Diskussion mit Interesse verfolgt.
Gibt es einen Grund, warum niemand den berühmten Ogushi Respirator erwähnt hat? Der wurde 1918 erfunden, das US-Patent wurde 1920 von Riichi Watanabe veröffentlicht:
Https://www.google.de/patents/US1331601
Der Erfinder erwähnt speziell die Maske zwischen die Augenbraue und die Oberlippe. Die Erfindung wurde ausführlich von Nyle Monday im US Journal of Diving History Nr. 86, Frühjahr 2016:
Du kannst hier Bilder von David Dekker's DiveScrap Index sehen:
Http://www.divescrap.com/DiveScrap_INDE ... gushi.html
Best wishes
Richard Walsby
Gruß,
Franz
- oxydiver
- HTG-Mitglied
- Beiträge: 789
- Registriert: So 16. Okt 2011, 19:53
- Vorname: Michael
- Spezielle Interessen: Eigenbau und Tauchen mit altem Gerät, insbesondere Kreislaufgeräten. Sammlung von DDR Tauchtechnik.
- Wohnort: Sachsen Anhalt
- Kontaktdaten:
Re: Erste Einglasmaske, ab wann?
Hallo,
ich hatte natürlich
Vollgummimasken fürs Schwimmtauchen gemeint. Da sieht man mal wieder das man präzise formulieren muß.
Gruß Micha
ich hatte natürlich
Gruß Micha
- Jan Willem
- Nichtmitglied
- Beiträge: 2
- Registriert: Sa 31. Aug 2019, 13:40
- Vorname: Jan Willem
Re: Erste Einglasmaske, ab wann?
7 may 1934 M. Yves le Prieur patented his scuba system showing a one glass mask in the patent
- Dateianhänge
-
- LePrieur_Mask_Hose.jpeg (28.67 KiB) 21827 mal betrachtet
-
- Le Prieur_Mask.png (53.28 KiB) 21827 mal betrachtet
-
- FR768083A_Original_document_20200202231241.pdf
- (180.97 KiB) 1825-mal heruntergeladen